Ëæ×Ÿ÷Àà·þÎñÐÔÓªÒµÍøµãÔÚ¸÷³ÇÕòÇøÓòѸËÙ½¨Á¢£¬Óɴ˲úÉúµÄ¸÷ÀàÎÛË®ÅÅ·ÅÒ²ÈÕ½¥Ôö¶à£¬ÓÈÆäÊǸ÷ÀàÒûʳ³¡ËùµÄÎÛË®£¬ÒòÆäº¬ÎÛÁ¿´ó£¬ÇÒÔÚ´ó¶àÇé¿öÏÂÅÅ·ÅÌõ¼þ½Ï²î£¬¶Ô»·¾³Ôì³ÉµÄÍþвÒѲ»ÈݺöÊÓ¡£¶ÔÕâÀàÎÛË®ÔÚÅÅ·Åǰ½øÐÐÔ¤´¦ÀíÒѳÉΪһÏî½ÏΪ½ôÆÈµÄ¿ÎÌâ¡£
1¡¡ÎÛË®µÄÅÅ·ÅÌõ¼þÓë´¦Àí·½·¨
²ÍÌüÎÛË®ÖеÄÐü¸¡ÔÓÖÊ·ÖΪÒԸ߷Ö×ÓÖ¬À༰ÆäÑÜÉúÎïΪÖ÷µÄÓÍÀàºÍ³Ê·¹²ËËéÁ£¡¢²»ÈÜÐÔµ°°×¡¢ÏËάÖʼ°µí·ÛÖÊ̬µÄ·ÇÈܽâÐÔÓлúÎïÁ½Àà¡£³ø·¿ÄÚ²»Í¬×÷Òµµã²úÉúµÄÎÛË®ÓлúÎïŨ¶ÈÓкܴóµÄ²îÒì¡£ÈâʳϴµÓË®ºÍ²Ð²Ë³ØÄÚµÄÎÛË®BOD5¿É´ï1 000mg/LÒÔÉÏ£¬¶øÒ»°ãÏ´²ËË®µÄBOD5º¬Á¿Ôò½ÏµÍ¡£¿¼ÂÇÒ»¸ö±ä»¯ÖÜÆÚµÄˮԴ¾ùºÍ£¬×ÜÌåÅÅ·ÅBOD5Ũ¶ÈÔ¼ÔÚ200mg/L¡«300mg/LÖ®¼ä£¬CODÔòÔÚ300mg/L¡«500mg/LÖ®¼ä£¬SSԼΪ500mg/L¡£¶øÎÛË®µÄ×ÛºÏÅŷűê×¼(GB8978-88)ÖÐÒªÇóÅÅ·ÅË®ÖÐSS£¼70mg/L¡«100mg/L£¬BOD5£¼60mg/L¡«80mg/L£¬CODCr£¼100mg/L¡«150mg/L¡£
ÓÉÓÚÉÏÊöÓªÒµÐÔ²ÍÌüµÄ³ø·¿´ó¶à²¼ÖÃÓµ¼·£¬¿ÉÀûÓÿռ伫ÆäÓÐÏÞ£¬¶ÔÎÛË®´¦ÀíÉ豸µÄÒªÇó¼«Îª¿Á¿Ì¡£ÊÂʵÉÏ£¬´¦ÀíÉ豸ռµØÔÚ0.5m¡Á0.5mÒÔÄÚʱÉпɽÓÊÜ£¬´ïµ½1m¡Á1mÕ¼µØÊ±ÒÑÖ»ÏÞÓÚ±»½Ï´óÐͺÍÕý¹æµÄ³ø·¿Ñ¡Ó㬴óÓÚÕâÒ»Õ¼µØÃæ»ýµÄÉ豸ÔòÄÑÒÔÊÊÓ¦ÓÚÕâÀàÓû§¡£ÓÉÓÚÕâÒ»³ß´çÏÞÖÆ£¬ÎÛË®ÔÚÉ豸ÄÚµÄÍ£Áôʱ¼äÒ»°ã²»Äܳ¬¹ý20min¡£Òò´Ë£¬Ö»ÄÜѰÇóijÖÖ¸ßЧµÄÎïÀí´¦Àí·¨£¬Í¨¹ý´ó·ù¶È½µµÍÎÛË®ÖеÄÐü¸¡ÓлúÔÓÖÊÀ´½µµÍÎÛË®µÄÓлúÎﺬÁ¿£¬ÒÔ´ïµ½¹æ¶¨µÄÅÅ·ÅÌõ¼þ¡£
2¡¡ÀëÐÄÆø¸¡¸´ºÏ¹ý³ÌÀíÂÛ
²ÍÌüÎÛË®ÖеÄÐü¸¡ÎÛȾÖʿɸù¾ÝÆäÎïÀíÃܶÈÉϵÄÃ÷ÏÔÇø±ð·ÖÎªÖØÖÊ΢Á£ºÍÇáÖÊ΢Á£Á½Àà¡£½«ÈÜÆøµÄ²ÍÌüÎÛË®ÒýÈë¸ßËÙÐýתµÄÀëÐij¡ÄÚ¡£Á½Àà΢Á£ÔÚÀëÐÄÁ¦µÄ×÷ÓÃÏ£¬ÓÉÓÚÆä×ÔÉíµÄÃܶȲîÒìÔÚ°ë¾¶·½ÏòÉÏÒìÏòÔ˶¯£¬ÀûÓÃÎ¢ÆøÅݵÄÊͷźÍÎü¸½½øÒ»²½¼Ó¾çÁËÇáÖÊ΢Á£±í¹ÛÃܶÈÓëÒºÌåÃܶÈÖ®²îÒ죬´Ó¶ø¼ÓËÙÁËÕâÀà΢Á£µÄ¾¶ÏòÔ˶¯ËÙ¶È¡£ÔÚÕâ¸öϵͳÖУ¬ÎÛˮͬʱ¾ÀúÁËÀëÐÄºÍÆø¸¡Á½¸ö´¦Àí¹ý³Ì¡£ÔÚÕâ¸ö¸´ºÏ¹ý³ÌÖÐÖØÖÊ΢Á£ºÍÇáÖÊ΢Á£ÔÚÀëÐij¡×÷ÓÃϵÄÓÎÒÆËٶȿɷֱð±íʾÈçÏ£º
|
|
ʽÖÐur¡ª¡ªÖØÖÊ΢Á£¾¶ÏòÓÎÒÆËÙ¶È£¬m/min;
ux¡ª¡ªÇáÖÊ΢Á£¾¶ÏòÓÎÒÆËÙ¶È£¬m/min;
N¡ª¡ªÎÛË®µÄÐýתËÙ¶È£¬r/min;
R¡ª¡ªÎÛË®µÄÐýת°ë¾¶£¬m;
ds¡ª¡ªÎ¢Á£Á£¾¶£¬m£»
¦Ás¡ª¡ªÒºÌåÃܶÈÓëÖØÖÊ΢Á£ÃܶÈÖ®±È(¦Ás£¼1)£»
¦Áx¡ª¡ªÒºÌåÃܶÈÓëÇáÖÊ΢Á£ÓëÆøÅݽáºÏºóµÄ±í¹ÛÃܶÈÖ®±È(¦Áx>1)¡£
ÉÏÊö¹ØÏµ¿ÉÓÉͼ1¡¢Í¼2¸üΪֱ¹ÛµØ±íʾ³öÀ´¡£
|
|
ÊÂʵÉÏ£¬Î¢Á£µÄÓÎÒÆËÙ¶ÈËæÆäÔÚÀëÐij¡ÄÚµÄλÖñ仯¶ø¸Ä±ä£¬Òò´Ë£¬·Ö±ð¶Ô×î²»ÀûÁ£¾¶µÄ΢Á£½øÐÐÏÂÊö»ý·Ö¼´¿É·Ö±ðµÃµ½·ÖÀëÁ½Àà΢Á£ËùÐèµÄʱ¼ä£º
|
|
ʽÖÐtr¡ª¡ª·ÖÀëÖØÖÊ΢Á£ËùÐèʱ¼ä£¬min£»
tx¡ª¡ª·ÖÀëÇáÖÊ΢Á£ËùÐèʱ¼ä£¬min¡£
ͼ3¡¢Í¼4·Ö±ð¸ø³öÁËÁ½Àà΢Á£ÔÚR=0.2mʱµÄ·ÖÀëʱ¼ätÓëÎÛË®ÐýתËÙ¶ÈNÖ®¹ØÏµÇúÏß¡£
|
|
3¡¡Ô¤´¦Àí×°ÖõÄÉè¼ÆÓëÔËÐÐ
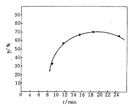
¸ù¾ÝÉÏÊöÀíÂÛ£¬Éè¼ÆÖÆ×÷ÁËһ̨²ÍÌüÎÛˮԤ´¦Àí×°Ö᣸Ã×°ÖÃÖ±¾¶0.4m£¬¶¯Á¦550W£¬Õ¼µØ½öΪ0.4m¡Á0.5m¡£¡¡¾¶Ô²»Í¬²ÍÌüÎÛˮȡÑù²¢½øÐÐʵ¼ÊÔËÐУ¬Êµ²âµÄCODCrÊý¾Ý»ãÓÚ±í1£¬Æä¶ÔÓ¦µÄÈ¥³ýЧÂÊÓëÎÛˮͣÁôʱ¼ätÖ®¹ØÏµÇúÏß»æÓÚͼ5¡£
±í1¡¡²ÍÌüÎÛˮԤ´¦Àí×°ÖÃÔËÐÐʵ²âÊý¾ÝÒ»ÀÀ±í
|
×¢£º´¦ÀíЧÂÊΪCODCr´¦ÀíЧÂÊ¡£²ÍÌüÎÛË®µÄBOD5ֵԼΪCODCrÖµµÄ0.48¡«0.50×óÓÒ£¬¹Ê±íÖÐδÔÙ¸ø³ö¡£
4¡¡½áÂÛ
¸ù¾ÝÉÏÊöÀíÂÛÑо¿¼°Æäʵ¼ÊÉ豸ÔËÐнá¹û£¬»ñµÃÒÔϽáÂÛ£º
(1) ²ÍÌüÎÛË®ÖÐÐü¸¡ÐÔÓлúÎﺬÁ¿Õ¼ÎÛˮȫ²¿ÓлúÎﺬÁ¿½Ï´óµÄ±ÈÀý£¬²ÉÓøßЧµÄÎïÀí´¦Àí·½·¨Í¨¹ý»ý¼«µØ·ÖÀëÆäÐü¸¡ÐÔÓлúÔÓÖÊÀ´´ó·ù¶È½µµÍÎÛË®µÄÓлúÎïŨ¶ÈÊÇ¿ÉÄܵġ£
(2) ͼ1¡¢Í¼2±íÃ÷µ±RÒ»¶¨Ê±£¬Ôö¼ÓÎÛË®ÐýתËÙ¶ÈN½«ÓÐÀûÓÚÌá¸ß´¦ÀíЧÂÊ£¬µ«ÏàÓ¦µÄ¶¯Á¦ÏûºÄÒ²´ó·ù¶ÈÌá¸ß¡£Êµ¼ù±íÃ÷£¬Êµ¼ÊµÄÉ豸ÔËÐг£³£ÄÑÒÔ³¬¹ýN=100r/minµÄˮƽ¡£
(3) ͼ5ÖеĦǡ«tÇúÏßÏÔʾ£¬Í£Áôʱ¼äÔÚ15min×óÓÒʱ¿É»ñµÃ½ÏºÃµÄ´¦ÀíЧ¹û¡£ÕâÓëͼ3¡¢Í¼4ÖеÄt¡«NÇúÏßÓнϺõÄÎǺϡ£
(4) ²ÉÓÃÒÔ¡°ÀëÐÄ-Æø¸¡¡±¸´ºÏ¹ý³ÌΪÖ÷Òª´¦Àí¹¤ÒÕÀ´¶Ô²ÍÌüÎÛË®½øÐÐÅÅ·ÅǰԤ´¦Àí¿ÉÒÔʹÅÅ·ÅË®´ïµ½GB8978-88Ëù¹æ¶¨µÄÅÅ·ÅÒªÇó¡£¶øÇÒÒòÆäÕ¼µØÐ¡¡¢µçºÄÊ¡Ò×ÓÚ±»Óû§½ÓÊÜ¡¢´ËÍ⣬ÓÉÓÚÅÅ·ÅË®º¬ÓнϸߵÄÈܽâÑõ£¬¶ÔÎÛË®ÔÚÊÐÕþ¹ÜÍøÄڵĽøÒ»²½½µ½â¼«ÎªÓÐÀû¡£
±¾ÎÄËùÉæ¿ÎÌâΪұ½ð²¿Óг¥×ÊÖú¿ÎÌâ¡°Éú»îÎÛˮһÌ廯´¦ÀíϵͳµÄÑо¿ÓëÓ¦Óᱡ£
²Î¿¼ÎÄÏ×
1¡¡Ðí±£¾ÁÖø.µ±´ú¸øË®Óë·ÏË®´¦ÀíÔÀí.±±¾©£ºÇ廪´óѧ³ö°æÉ磬1983
2¡¡ÍõÒµ¿¡£¬µÈ±àÒë.Ë®´¦ÀíÊÖ²á.±±¾©£ºÖйú½¨Öþ¹¤Òµ³ö°æÉ磬1986
3¡¡ÕÅ×Խܣ¬µÈ±àÒë.Ë®´¦Àí¹¤³ÌÀíÂÛÓëÓ¦ÓÃ.±±¾©£ºÖйú½¨Öþ¹¤Òµ³ö°æÉ磬1986
4¡¡´ÞÓñ´¨£¬µÈ.Ë®´¦Àí¹¤ÒÕÉè¼Æ¼ÆËã.±±¾©£ºÖйú½¨Öþ¹¤Òµ³ö°æÉ磬1986




















