[拼音]:jidong cheliang zaosheng
[外文]:vehicle noise
机动车辆包括公路车辆和铁路车辆,它们在运行时发出的噪声,一般是无规宽频带噪声,其声压级和频谱同车辆的种类、运行状态、道路状况、车轮种类和轮胎花纹式样有关。
公路车辆噪声
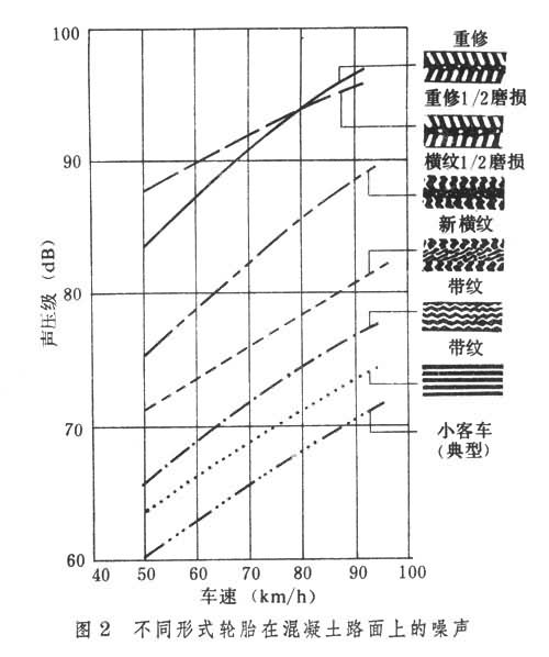
主要噪声源为驱动系统(进气、排气、燃烧、机械、冷却风扇等)和运行系统(轮胎、传动齿轮等)(见交通噪声)。前者同发动机转速有关,同运行速度几乎无关;后者则同轮胎花纹、路面状况有关,并随行车速度而变化。不同类型车辆的噪声与车速的关系如图1。各种车辆高速运行时,轮胎噪声为主要噪声,不同花纹的轮胎在混凝土路面上的噪声如图2。信号喇叭不是车辆的连续声源,其声压级一般高出其他噪声10~15分贝,频繁使用也会成为噪声污染源。车辆的其他噪声有空气涡流噪声和车体结构振动噪声等。公路车辆噪声按类型可分为载重车噪声和小客车噪声两类。
载重车噪声
载重车按驱动系统的类型可分为柴油发动机车和汽油发动机车。柴油机车噪声一般比汽油机车噪声高8~10分贝。声压级随车龄而增强,主要是机器磨损、排气消声器损坏、轮胎磨损等造成的。载重车的车速一般较低,空气动力噪声也小。不同车辆的车体振动噪声相差很大,难以估算;总声压级一般是车速的函数。
小客车噪声
各噪声源的声压级随车速而变化。在沥青路面上,小客车的车速如果为每小时56公里,声压级一般为64~73分贝;如果每小时90公里,声压级为63~82分贝。在混凝土路面上,时速每增加15公里,噪声约增高2.5分贝,具体数据视车辆设计而异。车窗全开时声压级增高5~15分贝。车窗开一边时,车厢可视为亥姆霍兹共鸣器,车辆达到某速度时,可产生很高的声压级,有时甚至达到100分贝;但稍稍打开另一面的车窗,这种噪声即可消除。
测量方法
有最大加速噪声测量法、匀速噪声测量法、定点噪声测量法等。不论用何种方法,均要求有良好的重复性和实用性。1979年中国颁布的《机动车辆噪声测量法》属于最大加速噪声测量法,原则上和国际标准化组织的ISO R362测量法一致。这种测量法规定:在平整开阔的场地上,设硬质路面和行车中线,划定长20米的路段为测量段,车辆以一定传动档和3/4发动机额定转速,匀速驶向测量段(使车辆中线在地面上的投影和行车中线重合),当车辆前端线抵达测量段起始线时,立即将油门全开,车辆加速通过测量段。车辆后端线到达测量段终端线以前,发动机转速必须达到额定转速。在测量段中点两侧和中线相距7.5米处设测量点,把普通声级计或精密声级计装置在高于路面1.2米的支架上,测量车辆在规定状况下以最大加速度通过时的最高A声级。
中国在1975~1976年对13个省市的各种类型的车辆噪声进行了测量,A声级的统计结果见表。
铁道车辆噪声
铁路车辆分为货车、客车、专用车等,它们分别由机车(驱动系统)和车厢组成,其主要噪声源为驱动系统和车轮-轨道运行系统(见铁道交通噪声)。
