构思这样一个设备适用:农村、小型企业、商业住宅、商业会所、餐饮、卫生站等场所的分散型小水量废水处理站。
工艺思路:主要为去除生物降解性脂肪、油脂、悬浮物、有机物、病原体、富营养物质。
如下图:

这是一个封闭型圆柱体。
外壳材质:玻璃钢材质。
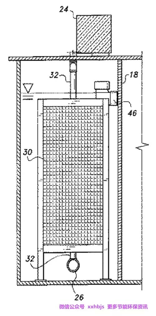
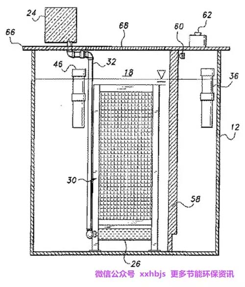
其中含有三个独立的处理阶段和处理系统,12外壳,18和50是隔板,隔开第一室16,第二室22和第三室28,第一隔板18,平分整个设备空间,第二隔板50垂直第一隔板,第二隔板平分1/2的剩余空间。第一室是无氧环境,其中含有过滤器20,建议兼性厌氧,去除水中的有机物及氮,同时通过过滤器去除废水中的悬浮物,外壳12建议采用玻璃钢材质。
废水通过14进水管,进入整个系统,然后经过整套工艺的处理,经过52出水管流出。处理后的水可以排放,或做为景观水,或作为灌溉水。
此设备可以埋设地下。
外形尺寸不做过多介绍,主要说说构造及工艺。
第一室,其中的过滤器做成可移动过滤器,方便替换和维修。第一室产生的气态氮等氮氧化合物通过48排气管释放到大气中。第一室的水重力作用通过降液管46进入第二室,不需要泵。
其中各室的高程要综合考虑,并通过降液管一级一级流出。如果想实现完全自动化,可以考虑用气动阀或电动阀。如不考虑整套设备的自动化,可以不设置阀门,或设置手动阀。


第二室,包括曝气器26,提供微生物所需的氧气,并连接曝气设备24,这里要考虑曝气设备的选型和曝气量的规划以及曝气量的设置,同时设置污泥回流系统42。

第二室的水通过隔板18,在槽58过渡后进入第三室28,不需泵来输送,靠重力自流。

第三室的污泥回流系统42,采用虹吸式。回流重力沉降悬浮固体及污泥混合物。这些混合物可以选择性的从第三室通过端口51进入第一室16。虹吸系统设置进泥管道34,通过口62进入第二室,其中在虹吸管道上可以加入少部分曝气,防止污泥的堵塞,如果想实现自动化,可以设置针型阀,通过柔性软管或刚性导管实施,还可以保持污泥的活性。
第三室处理后净水流出时,设置槽56,里面可以填充聚酯、聚乙烯、聚苯乙烯纤维或弹性泡沫材料,这里要设置法兰式人孔,便于更换材料,此处为什么不设置独立过滤器,主要考虑增加附属设备没必要,我们要的就是便于运行和维护,还有能耗方面的考虑。一切从简吧!只要保证效果就好。

此设备,建议实现完全自动化及各设备的报警系统,将整套设备和PLC系统做成一个工艺包,要做就做最好。




设备的顶部包括两个舱口,选择性的维修或更换设备。建议采用孔式。而且开大点,维修人员进去维修很辛苦,设备在尺寸设计上考虑人性化,不要照着书本设计东西!















