随着全球经济的发展,海洋运输成为物流环节越来越重要的一环。船舶航行过程中产生的生活废水对海洋环境造成严重的影响。为了应对这一危机,国际海事组织(IMO)于2006年10月13日正式通过了IMO.MEPC159(55)决议,该决议对“MARPOL 73/78国际防污公约”附Ⅳ有关船舶生活污水处理装置做出了全新的、更加严格的要求。
和城市生活污水相比,船舶生活污水作为一种特殊的生活污水,其产生和排放受到船舶和海洋双重环境条件的限制,二者主要区别在于:(1)船舶生活污水排泄周期较短,且船用厕所卫生器具往往直接使用海水进行冲洗,故其COD、总悬浮固体物和含盐量均大于市政生活污水,污染负荷较高;(2)船舶生活污水的产生和排放波动性较大,流量不稳定。
污水的常用处理方法分为物化法、生化法、电化学法3种。物化法效率较低,应用较少。市政生活污水处理通常采用生化法,但应用于船舶生活污水 处理时面临诸多难题:(1)需要专业人员长时间培养驯化细菌;(2)污水负荷大幅度变化时处理能力差;(3)装置体积较大;(4)活性污泥容易引发恶臭等。电化学法则不存在上述问题:它直接将电流用于处理过程,避免了培养细菌;可随时开启电源进行处理,操作简单方便;污水中的盐类有利于增加电导率,减小电解能耗;不需要长时间自然沉降,避免了船舶震荡的影响。因此,采用电化学法处理船舶生活污水具有明显优势。
在电化学处理法中,电絮凝操作简单、效率高、投资小,对固体悬浮物的去除有非常好的效果,但对于可溶性有机物的去除效率较低;而电解法可高效产生强氧化性的羟基自由基等,能有效去除可溶性有机物。笔者将电絮凝技术和电解技术耦合,综合二者的优势实现了对船舶生活污水的高效处理,采用单因素优化方法研究了污水的电絮凝处理过程,确定了最佳操作条件,再采用电解法进行深度处理,取得了良好的处理效果。
1 实验部分
1.1 仪器与试剂
仪器:KW-10KW大功率型直流稳压/恒流开关电源,深圳市科安特电子有限公司;90 L箱式喷砂机,宁波市鑫欧喷砂机械设备有限公司;SX2-4-10箱式电阻炉,天津市中环实验电炉有限公司;FE20型实验室pH计,梅特勒-托利多仪器(上海)有限公司;78-1型磁力加热搅拌器,金坛市富华仪器有限公司;DF-Ⅱ集热式磁力加热搅拌器,江苏省金坛市荣华仪器制造有限公司; DRB200型数字式消解器,美国哈希公司;DR3900型台式可见分光光度计,美国哈希公司。
主要试剂及材料:氢氧化钠、草酸、五水四氯化锡、三氯化锑、硝酸铅、硝酸铜、氟化钠、十二烷基磺酸钠、六水硝酸镧、浓盐酸、浓硝酸、正丁醇,皆为分析纯。原装HACH低量程COD消解液。30 mm× 20 mm ×1 mm 钛板,100 mm×100 mm ×1 mm 钛板,100 mm×100 mm ×1 mm 铁板。
实验所用生活废水取自天津大学石化中心厕所下水道,加入相应量的海盐,初始pH为8.9,COD为1 800 mg/L。
1.2 Ti/SnO2-Sb2O3/β-PbO2-La电极的制备
将含SnCl4和SbCl3的电极涂布液用毛刷均匀涂覆到经过喷砂、碱洗脱油和草酸刻蚀处理的钛板上,经过多次干燥和煅烧之后得到Ti/SnO2-Sb2O3极板,再在其表面阳极电沉积含La的β-PbO2层,即可得自制Ti/SnO2-Sb2O3/β-PbO2-La电极。
1.3 实验方法
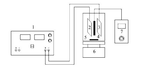
(1)电絮凝法预处理船舶生活污水。实验装置如图 1所示:以铁板作为阳极,钛板作为阴极,阴、阳极板尺寸皆为100 mm × 100 mm × 1 mm,极板间距18 mm(无特殊说明时),转速 1 400 r/min,放置于大烧杯中。取2 000 mL废水加入此电絮凝装置中进行预处理,反应一定时间后取样,静置后取上层清液,以其COD为考察目标。
(2)电解法深度处理船舶生活污水。实验装置如图 1所示:以自制Ti/SnO2-Sb2O3 /β-PbO2-La极板作为阳极,钛板作为阴极,阴、阳极板尺寸皆为30 mm×20 mm×1 mm,极板间距8 mm,转速400 r/min,放置于小烧杯中。取130 g电絮凝预处理后的清液加入此电解装置中进行深度处理,反应一定时间后取样,以其COD为考察目标。
图 1 电絮凝法、电解法处理船舶生活污水装置
1.4 实验原理
电絮凝预处理:在外加直流电作用下,阳极铁板发生氧化反应,生成Fe2+,其与阴极还原产生的OH-发生聚合反应生成具有很强吸附能力的Fe(OH)2絮凝物,把污水中悬浮的固体物质黏附在一起而沉降;同时阴极产生的氢气微小气泡和电解水时阳极产生的氧气微小气泡也将带动固体悬浮物上浮,从而达到分离悬浮物、净化水质的目的。
电解深度处理:通电后,一方面吸附到阳极极板上的污染物直接被氧化,另一方面阳极生成的强氧化性羟基自由基和Cl-生成的次氯酸、次氯酸根离子等也可把污染物氧化成CO2和H2O等,从而达到消除污染物的目的。
1.5 分析方法
COD采用HJ/T 399—2007快速消解分光光度法测定。COD去除率按式(1)计算:
式中:η ——COD去除率,%;
c0——处理前的污水COD,mg/L;
ct——处理后的污水COD,mg/L。
2 结果与讨论
2.1 絮凝预处理过程
2.1.1 电流密度对COD去除率的影响
在电絮凝时间为40 min、盐度为1%、极板间距为18 mm条件下,电流密度分别取0.002 5、0.005、0.010、0.015、0.020、0.025 A/cm2,相应的COD去除率分别为46.38%、50.72%、60.14%、62.31%、63%、63.77%。可见电流密度<0.010 A/cm2时,COD去除率随电流密度增强而增大;当电流密度>0.010 A/cm2后,COD去除率基本恒定;电流密度过大时容易导致阳极极板过度钝化,引起其他副反应。因此,最佳电流密度选定为0.010 A/cm2。
2.1.2 电絮凝时间对COD去除率的影响
电絮凝时间对废水COD的去除也有很大影响。在电流密度为0.010 A/cm2、盐度1%、极板间距18 mm条件下,当电絮凝时间为10、20、30、40、50、60 min时,COD去除率依次为45.83%、52.08%、56.25%、60%、61%、62.08%。可以看出,电絮凝时间<40 min时,COD去除率随电絮凝时间延长而迅速增大;当电絮凝时间>40 min后,COD去除率升高趋势趋于平缓。这是由于电絮凝初期污水中固体悬浮物浓度高,电絮凝效果好,随反应的进行,固体悬浮物浓度降低,电絮凝效果变得不明显。尤其是40 min后,随时间延长,COD去除率基本恒定。因此,考虑实际耗电量等因素,40 min为最佳电絮凝时间。
2.1.3 污水盐度对COD去除率的影响
在电流密度为0.010 A/cm2、电絮凝时间为 40 min、极板间距为18 mm条件下,加入不同量的粗制海盐来调节船舶生活污水的盐度,图 2为不同盐度下的COD去除率。
图 2表明,在0.1%~2.5%的盐度范围内,COD去除率随盐度增大而降低。这是因为盐度过高时,大量离子聚集在极板表面,阻碍了电絮凝过程中传质的进行,且容易导致电流泄漏,影响最终的处理效果。从图 2还可看出,电解槽电压随盐度增大逐渐减小,有利于降低反应的能耗。综合以上因素,选取盐度1%为最佳条件。
在电流密度为0.010 A/cm2、电絮凝时间40 min、盐度1%条件下,考察不同极板间距下船舶生活污水COD的去除率,见图 3。图 3表明,COD去除率随极板间距的增大而降低,但幅度很小。考虑到实际装置安装过程的难易程度和污水日处理量,以及极板间距过小容易导致电流短路等因素,确定18 mm的极板间距为最佳条件。
2.1.5 污水初始pH对COD去除率的影响
在电流密度为0.010 A/cm2、电絮凝时间为 40 min、盐度为1%、极板间距为18 mm条件下,加入H2SO4溶液或NaOH溶液来调节船舶生活污水的初始pH,图 4为不同初始pH时COD的去除率。
从图 4可以看出,酸性及中性条件下,COD去除率基本保持恒定,但pH较高时,电极容易钝化,COD去除率略有下降。从电絮凝后最终pH的变化曲线还可看出,初始pH越小,电絮凝过程中pH增幅越大,最终均为中性或碱性。考虑到电絮凝过程中的成本问题,选择初始pH中性状态进行电絮凝更为理想。
2.2 电解深度处理过程
2.2.1 电流密度对COD去除率的影响
电流密度对电解深度处理电絮凝废水COD的去除率有显著影响,图 5为电絮凝后废水COD去除率随电流密度的变化情况(电解时间3 h,盐度 1%)。可以看出,电流密度<0.06 A/cm2时,COD去除率随电流密度增大而显著增大;当电流密度>0.06 A/cm2后,COD去除率提高幅度减小;且电流密度为0.06 A/cm2时,电解深度处理后废水的COD已降低至120 mg/L,达到MARPOL73/78国际防污公约附则Ⅳ中COD≤125 mg/L的排放标准。因此,电解深度处理过程中最佳电流密度选定为0.06 A/cm2。
2.2.2 电解时间对COD去除率的影响
电解时间对电絮凝后废水COD的去除也有很大影响,图 6为电絮凝后废水COD去除率随电解时间的变化情况(电流密度0.06 A/cm2、盐度1%)。
从图 6可以看出,电解时间<3 h时COD去除率和电解时间几乎成正比例增长关系;当电絮凝时间超过3 h后,COD去除率升高趋势减缓,这是由于废水中有机物浓度降低。因此考虑实际耗电量等因素,3 h为最佳电解深度处理时间。。
3 结论
采用电絮凝—电解耦合技术处理船舶生活污水,在电絮凝预处理过程中,电流密度0.010 A/cm2、电絮凝时间40 min、盐度1%、极板间距18mm、pH接近中性时,COD去除率可达到64%;随后用自制Ti/SnO2-Sb2O3 /β-PbO2-La电极进行电解深度处理,电流密度0.06 A/cm2、电解时间180 min、pH为弱碱性时,COD总去除率达到93%。














